Alépítmények
Előkerti főelzáró tartó
Előkerti mérős alépítmény
Előkerti utólagos alépítmény
Előkerti gázóraszekrények
Előkerti főelzáró
Előkerti szabályozó állomás
Előkerti mérőállomás
Előkerti szabályozó- és mérőállomás
Előkerti iker szabályozó- és mérőállomás
Fali gázóraszekrények
Fali szabályozó védőszekrény
Fali szabályozó állomás
Fali mérő szerelősín
Fali mérőállomás
Fali szabályozó- és mérő szerelősín
Fali szabályozó- és mérőállomás
Fali iker szabályozó- és merőállomás
Falba építhető gázóraszekrények
Falba építhető szabályozó védőszekrény
Falba építhető merőállomás
Falba építhető iker mérőállomás
Falba építhető szabályozó- és merőállomás
Falba építhető iker szabályozó- és mérőállomás
626425|231663
Alépítmények
100001|231663
Előkerti gázóraszekrények
100002|231663
Fali gázóraszekrények
100003|231663
Falba építhető gázóraszekrények
Belép
Elfelejtettem a jelszavamat
Regisztráció
A kosár üres.
Vásárláshoz kattintson ide!
Főkategória
Előkerti gázóraszekrények
Előkerti szabályozó állomás
Előkerti szabályozó állomás T12
Cikkszám:
ESZA_T12
Előkerti szabályozó állomás T12
Cikkszám:
ESZA_T12
Nincs raktáron
29 567
Ft
-DC01 minőségű acélból készült, zománcfesték
-TELEFONOS EGYEZTETÉS SZÜKSÉGES
-GMBSZ szerinti nyomáspróba
-Egyedi gyártási számok
-Magas korrózió védelem
Kedvencekhez
Nyomtat
Összehasonlítás
Részletek
Adatok
Részletek
Műszaki Leírás
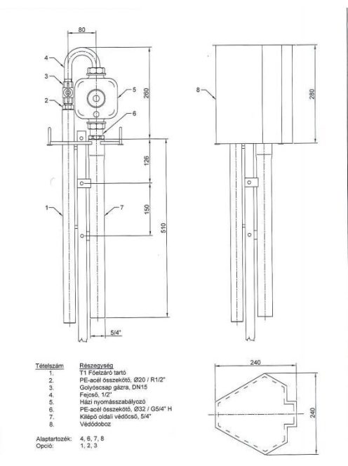
A lakatos szerkezet fő része a kilépő oldali védőcső, amely a T12, T13, T14 terméknél 5/4” kelyhezett kivitelű, T14 esetén pedig 2” méretű acélcső, erre 2 db 25x5 mm-es lapos acélból készült rögzítő fület hegesztettek, melyek segítségével csavarkötéssel rögzítjük az előkerti szabályzó állomást az előzetesen földbe helyezett főelzáró tartóhoz.
A főelzáró csapot, fejcsövet és további szerelvényeket 0,8 mm DC01 minőségű finom acéllemezből készült védődoboz óvja. A szerkezet elemeit hajlítás, darabolás és összeillesztés után hegesztési varratokkal állítják össze. A szerkezet felületvédelmére foszfátozás, zsírtalanítás után alapozó és zománcfestést alkalmaztak.
A lakatos szerkezet védőgázos, fogyóhuzalos hegesztési technológiával állítják össze. A termékek egyedi gyártási számot kapnak.
Adatok
Cikkszám
ESZA_T12
Adatkezelési beállítások
Weboldalunk az alapvető működéshez szükséges cookie-kat használ. Szélesebb körű funkcionalitáshoz (marketing, statisztika, személyre szabás) egyéb cookie-kat engedélyezhet. Részletesebb információkat az
Adatkezelési tájékoztató
ban talál.
Nem engedélyezem
Engedélyezem
Adatkezelési beállítások